Page Under Construction. This is a page of firearm patents that I have collected as ispiraction, some of those are applied in production firearms, others never went applied. |
US Patent Office 1848496 - Muzzle Brake for guns - G.M. Barnes, United State Army The principal object of the present invention is to provide a strong and simple muzzle brake arranged to utilize a portion of the gases of discharge and then discharge the gases in a forward direction. A further object is to provide a novel form of baffle ring that may be readily made and that lends itself to quick replacement in the assembly.To these and other ends, the invention consists in the construction, arrangement and combination of elements described hereinafter and pointed out in the claims forming a part of this spec. |
I love this concept, without to know about this patent I developed a similar prototype of a choke-tube that included the same feature, my chief did not like it. |
![]() |
US Patent Office 4306487 - SAFETY DEVICE FOR A PISTOL - Pier Carlo Beretta, Brescia, Italy In a pistol of the type having a firing pin formed of two linearly consecutive elements, that are either aligned or non-aligned with each other, a sear for engaging the hammer and an arming trigger bar for arming the trigger there is provided a safety device comprising a safety shaft transversely mounted in the breech block and carrying the rearward portion of the two-part firing pin. |
Thanks to Google Patents |
![]() |
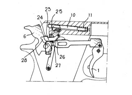
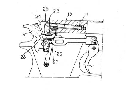
US Patent Office 4282795 - SAFETY FOR AN AUTOMATIC PISTOL - Pier Carlo Beretta, Brescia, Italy In an automatic pistol-safety means block the firing pin in a neutral position and prevent the lever and the arming rod from cooperating with each other and with the hammer. Automatic safety means intercept and block the hammer to prevent its contact with the firing pin. |
Thanks to Google Patents |
![]() |
US Patent Office 4236337 - REVERSIBLE SLIDING MAGAZINE LATCH Pier Carlo Beretta, Brescia, Italy A pistol is disclosed that may be used by either right or left handed individuals. A spring biased U-shaped latch is located in the pistol handle and may be reversed in position without any special skills or tools. In either position the latch temporarily blocks the removal of the magazine. A force exerted on the latch in opposition to the biasing force permits removal and reversal of the latch. |
Thanks to Google Patents |
![]() |
US Patent Office 4625443 - Single or double action tripping mechanism for four-barrlled pistol - Pier Giuseppe Beretta, Brescia, Italy A four-barrelled pistol is disclosed which comprises a hammer having a rotating, click-action head for succes sively acting on firing pins corresponding to the four barrels. Particularly, a tripping mechanism is disclosed which controls the hammer of the pistol to allow either a single-action or double action operation. --> Go to see the pistol's page <--
|
Thanks to Google Patents |
![]() |
US Patent Office 2805507 - Pistol with a knife blade thereon - A.P. Buquor, USA The invention relates to hand weapons for close-quarter combat, and particolari to inexpensive pistol equipped with accessory weapons such a retractable blades, impact weapon, ect.. |
DOWNLOAD PDF Doc. | ![]() |
US Patent Office 2631398 - Adjustable Gun Stock - Giovanni Fantoni, Brescia, Italy It is the object of the present invention to provide a hunting gun the butt of which may be oriented at will with respect to the pointing line by a simple manually-made adjustment.
|
DOWNLOAD PDF Doc. | ![]() |
US Patent Office 2935000 - Combination Torque and recoil compensator - W. L. Mowrey This invention reletes to improvements in a combination muzzle brake and barrel bushing for automatic pistols and the like and more particulary to a device to compensate for the torque created by the bullet rifling in the gun barrel and for the "jump up" of the gun barrel due to the detonation of the explosive change within the gun. |
DOWNLOAD PDF Doc. |
|








